沟槽黑使用天然气作为原料,依靠火焰在冷表面沉积炭黑,但产率很低,且环保与经济压力大。气黑工艺沿用“冲击冷表面沉积”的核心思路,但将原料替换为可汽化的重油,使产率与产能显著提升,并能稳定制造高品质颜料级炭黑,因此在特种产品上持续存在。

图1. 炉法流程示意(原始图 10.26,作为对比:气黑与炉法的系统结构差异明显)
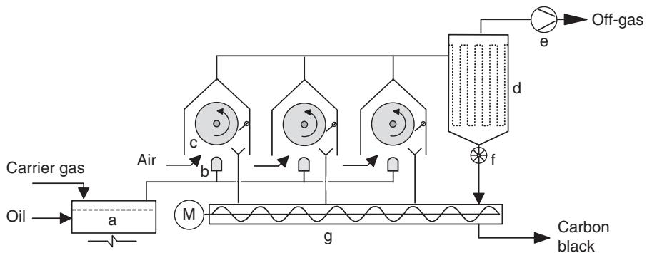
气黑工艺的关键步骤是把油汽化并用可燃载气输送到生产装置,在燃烧器中形成火焰。火焰贴近水冷鼓燃烧,生成的炭黑在鼓表面沉积并被连续刮下,通过螺旋输送进入后续输送/收集系统;装置外壳上下开口并配备过滤系统净化尾气。多个生产装置可组合为一个生产单元,共用一套油汽化系统。

图2. Degussa 气黑工艺示意:汽化—燃烧—冷鼓沉积—刮取—过滤(原始图 10.27)
气黑的灵活性不如炉法,但仍可通过燃烧器类型与工艺参数做出多种牌号。一般而言,高品质色黑为了获得更细粒径与更强黑度,产率会显著下降。工程上这意味着气黑的存在不是为了“做得更便宜”,而是为了“做得更特别”。
气黑在空气存在条件下生成,表面更容易形成酸性表面氧化物。这会影响润湿、分散与配方相容性,也使其更容易成为氧化后处理的基础材料。深黑涂料、油墨与某些高端涂层体系对氧化气黑有稳定需求。
沟槽黑为什么退出主流? 产率极低且环保与经济压力大,难以与炉法竞争。
气黑工艺的核心特征是什么? 火焰贴近水冷鼓,炭黑在鼓面沉积后被连续刮取,并通过过滤净化尾气。
为什么气黑仍有市场? 它能稳定提供高品质颜料级炭黑与氧化气黑,在黑度、色相与体系适配上具有特种优势。
气黑产率为什么可能很低? 高品质色黑往往需要更苛刻的粒径与结构窗口,通常以牺牲产率换性能。
气黑的表面化学有什么典型特征? 更偏氧化、酸性官能团占比更高,这影响润湿分散并适配部分极性体系。
依托国家磨料磨具质量监督检验中心能力体系**,
面向石墨、焦炭、石油焦、炭素制品、锂离子电池石墨类负极材料等碳材料
提供化学成分、晶体结构、力学性能、物理性能、高温性能等检测服务,可覆盖石墨化度、灰分、挥发分、固定碳、全硫/硫分、体积密度、真密度、气孔率、电阻率、抗压强度、抗折强度、抗拉强度、高温力学性能等关键指标。
依托国家级质检平台基础、CNAS 认可、CMA 资质认定及央企体系背景,精工博研-国磨质检可为企业研发验证、原料评价、质量控制、产品性能测试及进出口质量证明等场景提供专业、规范、可信的检测技术支持。
针对石墨等碳材料进出口业务,和国内多个海关合作,相关检测报告可作为企业报关、报关及质量技术说明的参考依据
首页
检测领域
服务项目
咨询报价